Apple тестирует новые чехлы для iPhone с удивительными возможностями.

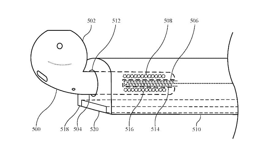
Уже некоторое время стилус Apple Pencil можно заряжать от iPad. Возможно, похожая функция появится на чехлах для iPhone. Один из патентов указывает на то, что Apple разработала чехол для iPhone, который сможет заряжать AirPods. Это во многом лишает смысла футляра для зарядки наушников.

В основном патенте говорится о том, что Apple тестирует разные чехлы. В чехлах может быть отверстие для зарядки AirPods или даже Apple Pencil. Отверстия также можно будет использовать для хранения. Согласно Apple, это может быть чехол-книжка, бампер, кобура, нарукавный чехол и др.
У Apple уже есть чехлы-аккумуляторы для iPhone. Новые идеи расширят возможности чехлов, которые смогут заряжать ещё и аксессуары. На одной из иллюстраций изображен чехол-книжка с экраном, на котором отображается время, а также с креплением для AirPods сверху. На другой у чехла есть отверстия для AirPods. У одного из чехлов есть карман для карточек.

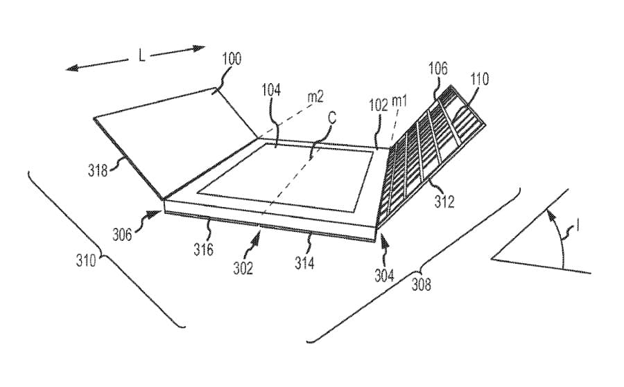
Во втором опубликованном патенте говорится о новом чехле Smart Case для iPad. В патенте чехол содержит сенсорную клавиатуру с меняющимися клавишами. Несколько дней назад в сеть попал такой же патент для Mac.
У Apple есть много патентов, но большинство из них так и не стали реальностью. Тем не менее, компания уже убрала адаптер для зарядки из комплекта iPhone, так что эти патенты вполне воплотимы. Тем не менее, подождать нам придётся.
Комментарии