Apple работает с новым типом дисплея для iPhone, iPad и Mac с визуально незаметной шершавостью, которая улучшит соприкосновение с объектами, как палец или Apple Pencil.

Изобретение заключается в стекле, которое будет казаться гладким на ощупь, но более текстурным при взаимодействии с Apple Pencil, сообщают PatentlyApple.
В четверг Ведомство по патентам и товарным знакам США опубликовало заявку Apple на патент под номером 20170300114 и с названием «Поверхность с визуально незаметной текстурой для обеспечения переменных коэффициентов трения между объектами». Название говорит само за себя.
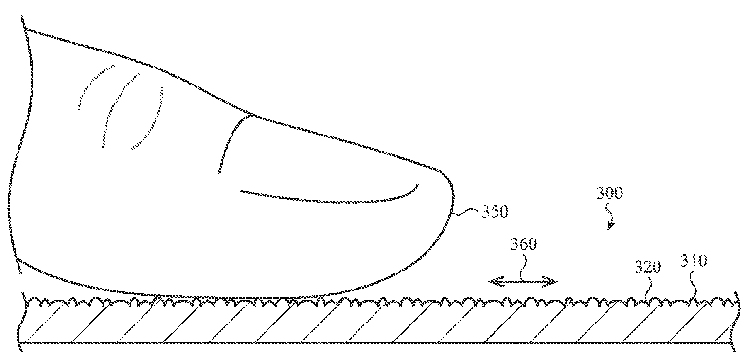
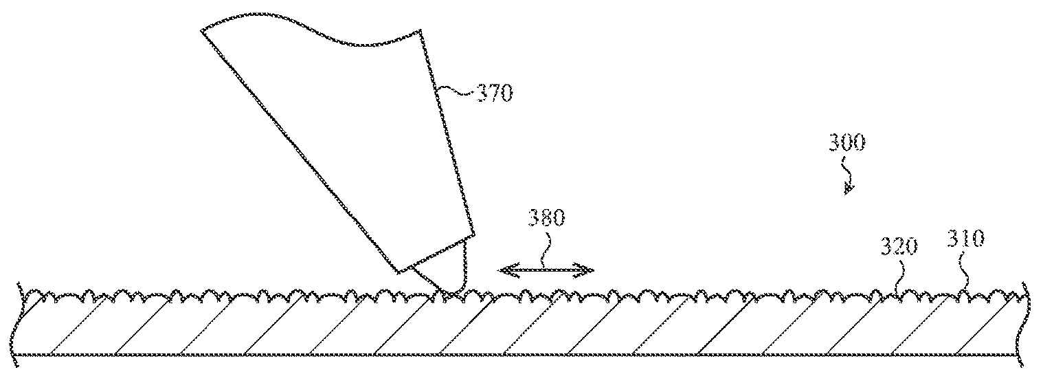
Описанная поверхность будет содержать множество маленьких выступов и впадин, которые обеспечат разный коэффициент трения с различными объектами. В некоторых вариантах реализации шершавая поверхность создаётся путём газового травления.

PatentlyApple объясняют:
Относительно большая площадь поверхности пальца пользователя по сравнению с расстоянием между выступами и впадинами обеспечит его взаимодействие только с выступами. Поскольку палец будет соприкасаться с несколькими выступами одновременно, их давление распределится по всей поверхности пальца равномерно. В результате шершавый экран будет казаться гладким на ощупь.
Этот стеклянный, сапфировый или пластиковый дисплей будет в два раза прочнее, и это никак не отразится на яркости, контрасте и других характеристиках.

При взаимодействии с Apple Pencil будет более грубый коэффициент трения для симуляции увеличенного сопротивления. Пользователь заметит, что под Apple Pencil экран менее гладкий – как настоящая бумага.
Впервые патент появился на свет в апреле 2016, а его авторы – инженеры Apple Наото Мацуюки, Дейл Мимринг, Мэтью Роджерс и Виктор Луццато.
Компания также работает над технологией 3D Touch нового поколения с вибро-фидбеком для более заметной отдачи при использовании виртуальной клавиатуры и т.п.
Комментарии